Серия LOW (крутящий момент от 232 до 44593 Нм, 70МПа, размер под ключ от 19 до 175 мм)
Основные характеристики гайковертов серии LOW
- Максимальное рабочее давление — 70 МПа.
- Точность крутящего момента составляет ±3%.
- Крутящий момент от 232 до 44593 Нм.
- Подвод рабочей жидкости от гидравлической станции осуществляется через поворотное шарнирное соединение, имеющее 2 типа: вращающееся на 360° по горизонтали и 180° по вертикали; вращающееся на 360° по горизонтали и 360° по вертикали.
- Повышенная точность и легкость работы с резьбовыми соединениями за счет конструкции с заниженным профилем.
- Компактная конструкция с удлиненной реакционной опорой (опция) для надежного использования.
- Усиленный корпус из сплава алюминия и титана.
Преимущества гайковертов серии LOW
Серия LOW представляет собой профессиональные гидравлические кассетные гайковерты с низким профилем от компании WREN.
В отличие от традиционных гидравлических торцевых гайковертов, серия LOW разработана специально для работы с резьбовыми соединениями в ограниченном пространстве.
Кассетные гайковерты серии LOW подходят для работы с размером под ключ от 19 до 175 мм. При необходимости работы с другими размерами можно заменить шестигранную кассету или использовать специальный переходник – вставку-уменьшитель.
Компания WREN предоставляет гарантийное обслуживание по всему миру, подтвержденное сертификатом TUV.
Аксессуары гайковертов серии LOW
Параметры гайковертов серии LOW
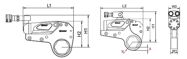
На фото: Габаритный чертеж кассетного гайковерта серии LOW
|
Модель привода |
Крутящий момент, Нм (мин – макс) |
Размер «под ключ», мм |
Масса привода, кг |
Масса кассеты, кг |
Размеры, мм |
|||||||
|
L |
L* |
H1 |
H2 |
W1 |
W2 |
|||||||
|
2LOW |
232 |
2328 |
19 |
55 |
1 |
1.6 |
186.1 |
195.4 |
125. 9 |
102. 3 |
32 |
51 |
|
241 |
2414 |
60 |
1 |
1.7 |
186.1 |
195.4 |
128. 5 |
105 |
32 |
51 |
||
|
4LOW |
585 |
2510 |
34 |
36 |
2 |
4. 4 |
241 |
258 |
177 |
135. 7 |
42 |
66 |
|
585 |
5021 |
41 |
2 |
4. 4 |
241 |
258 |
177 |
135. 7 |
42 |
66 |
||
|
585 |
5858 |
46 |
65 |
2 |
4.6 |
245 |
262 |
187 |
145. 7 |
42 |
66 |
|
|
647 |
6474 |
70 |
80 |
2 |
4. 6 |
246 |
263 |
187 |
145. 7 |
42 |
66 |
|
|
8LOW |
1094 |
10941 |
41 |
95 |
3. 3 |
8 |
294 |
304 |
207 |
169 |
53 |
83 |
|
1177 |
11774 |
100 |
105 |
3. 3 |
8. 4 |
301 |
311 |
216 |
178 |
53 |
83 |
|
|
14LOW |
1852 |
18521 |
50 |
117 |
5.5 |
11. 6 |
361 |
|
239 |
204 |
64 |
99 |
|
18LOW |
2601 |
26011 |
75 |
135 |
6 |
12.8 |
364.3 |
|
268.7 |
230 7 |
70 |
111 |
|
30LOW |
4188 |
41882 |
110 |
155 |
11.4 |
29 |
430 |
|
303 |
272 |
85 |
131 |
|
4459 |
44593 |
160 |
175 |
11.4 |
30 |
441 |
|
315 |
285 |
85 |
131 |
|


